 |  |
|
| Alles über unsere Natur und die Umwelt |
|
|
Nisthilfen und Futterstellen für unsere heimischen Vögel      |
Tappi
Dabei seit: 21.05.2006
Beiträge: 4581
Guthaben: 649.523 FeuerMark
Aktienbestand: 15 Stück
Realer Name: Stefan Herkunft: Steinhagen
 |
|
Nisthilfen und Futterstellen für unsere heimischen Vögel |
 |
Seit alters her beschäftigt sich der Mensch mit den Vögeln. Schon in der Antike wurden Tongefäße als Nisthilfen benutzt.
Adalbert Stifter, österreichischer Schriftsteller (1805-1868) beschrieb in seinem 1857 erschienen Buch "Nachsommer", wie man durch den Bau von Nisthöhlen Vögel in eine Gegend locken kann. Weiter führt er aus, daß die Nisthöhle genügend tief ausgehöhlt sein sollte und das Einflugloch gerade so groß sein sollte, daß das brütende Tier hin durch passt. Auch sollte das Flugloch nicht zur Wetterseite sondern nach Süden hin ausgerichtet sein.
Diese Regeln gelten heute zum größten Teil auch noch.
Wer Lust hat die Wintermonate zu nutzen und genügend handwerkliches Geschick besitzt, der kann sich in den Büchern:
"Artgerechte Niststätten für heimische Vögel" von Dr. Werner Keil, erschienen im Falkenverlag unter der ISBN: 3-8068-1220-9 oder
"Vogelhäuschen, Anleitungen und Pläne" von Herbert Januschkowetz, erschienen im Englischverlag unter der ISBN: 3-8241-0747-3
Anregungen zum Bau von Nisthilfen und Futterstellen herausholen. Die nebenstehenden Pläne sind nur eine von vielen Möglichkeiten, die zum Nachbau anleiten sollen.
Selbstverständlich kann man auch jede Art von Nistkasten im Handel erwerben.
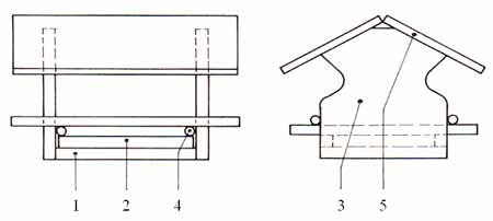
Bauanleitung:
Zuschneiden der einzelnen Teile (Maße in cm) in den Boden zwei bis vier Ablauflöcher 0,5cm bohren.
Seitenwände am Boden annageln. Sie stehen 1cm nach vorn über.
Aufhängung an der Rückwand befestigen und beide mit den Seitenwänden verbinden.
Bohrung für das Flugloch beachten (3,2 – 3,4cm Durchmesser)
Vorderwand anbringen. Diese kann man mit Hilfe von kleinen Stiften als Klappe zum späteren Reinigen herstellen und mit einem kleinen Haken an der Seite befestigen.
Dach aufsetzen, so das es nach vorne etwa 9cm übersteht.
Achtet dabei darauf, das keine Raubtiere an den Kasten herankommen können.
Futterhäuschen für den Winter
Hier ist der kreative Typ gefragt, denn man hat die Möglichkeit die Größe individuell zu bestimmen. Man kann aber auch im Buch "Nisthilfen" nachschauen, dort sind Baupläne im Maßstab 1:1 beigefügt.
Zeichnet Teil 3 auf eine Pappschablone. Nagelt die Teile an den Boden (1)
Dazwischen passt ihr die Leisten (2) ein.
Die Anflugstangen (4) nagelt ihr einmal auf die Leisten (2) fest. Bevor ihr die Stangen festnagelt, bohrt ihr sie vor, damit sie nicht splittern.
Setzt nun das Dach auf und bedeckt es mit Teerpappe. Darauf könnt ihr Tannenzweige oder Baumrinde befestigen. Fertig ist die Futterstelle.
__________________
Erst wenn das letzte Feuerwehrfahrzeug eingespart,
der letzte Arbeitsplatz am Ort ins Ausland abgewandert ist,
werdet ihr euch bewusst werden,
dass man mit Geld allein ein Feuer nicht löschen kann.
|
|
21.03.2007 20:59 |
|
|
Nanuk unregistriert
 |
|
Ist ne prima Sache für einen Jugenddienst ;) leider hängen unsere schon bei uns an der Weser.Sonst hätte ich sie nach dem Bauplan bauen lassen. Danke Tappi
Lg Ben
|
|
22.03.2007 17:00 |
|
|
|
Views heute: 453.518 | Views gestern: 691.315 | Views gesamt: 452.192.607

www.retter-radio.de
Musik nicht nur für Alltagsretter
Wir retten Euch aus dem Alltag und löschen Eure schlechte Laune
Impressum
|
|
|